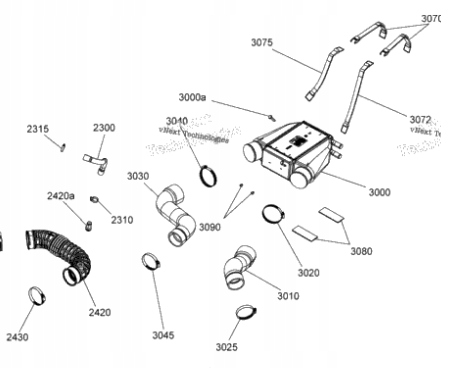
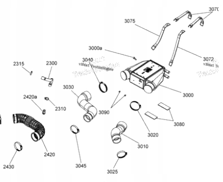
Wąż dolotowy Intercooler Sea-Doo GTR 230
Pasuje do:
2017 GTI-GTR-GTS 00037HA – Engine – Except 900Ho Ace
2017 GTX – Engine – Model Without Suspension
2017 WAKE PRO – Engine – All Models
2018 GTR 230 – Engine Gtr – 230
2019 GTR 230 – Engine
PRODUKT ORYGINALNY BRP

| Stan | Nowy |
|---|---|
| Numer katalogowy części | 273000367 |
| Marka | BRP |
1 opinia dla Wąż dolotowy Intercooler Sea-Doo GTR 230
PHU Techkom Łukasz Sytek
ul. Ogrodowa 6A
62-081 Przeźmierowo
tel: 698638342
mail: info@zoneparts.pl











A………E –